НАЧАЛО

6.1. УЧЕТ ЗАКОНОМЕРНОСТЕЙ РАЗВИТИЯ ТЕХНИКИ ПРИ ПРОВЕДЕНИИ ФУНКЦИОНАЛЬНО-СТОИМОСТНОГО АНАЛИЗА ТЕХНОЛОГИЧЕСКИХ ПРОЦЕССОВ

Владимир Михайлович Герасимов,
Семен Соломонович Литвин,
1986

Источник: Практика проведения функционально-стоимостного анализа в электротехнической промышленности. //Для разработки новой и совершенствования действующей технологии, для рационализации управления и организации производства// под ред.М.Г.Карпунина, -М: Энегоатомиздат, 1987


 

Современный этап развития социалистической экономики предъявляет повышенные требования к совершенствованию методологии ФСА в целях его использования для выявления скрытых, глубинных резервов в каждом исследуемом объекте, включая технологические процессы производства. Эта задача наиболее успешно решается, если методология ФСА базируется на учете объективных закономерностей развития техники.

Одна из главных тенденций развития техники сегодня - повышение идеальности технических систем (ТС), которую можно охарактеризовать отношением функциональных возможностей ТС к суммарным затратам на ее проектирование, изготовление и эксплуатацию.

Отсюда видно, что наиболее идеальной можно считать ТС, функции которой эффективно выполняются при минимуме затрат. А основными задачами ФСА, как известно, являются повышение функциональных возможностей и снижение суммарных затрат, т. е. ФСА по сути своей направлен как раз на повышение идеальности ТС.

За последние годы усилиями советских специалистов созданы весьма эффективные методики активизации технического творчества, в том числе теория решения изобретательских задач (ТРИЗ), содержащая ряд конкретных приемов для повышения идеальности ТС.

Одним из таких приемов, который с успехом можно использовать при ФСА, в частности, на аналитическом этапе, является функционально-идеальное моделирование (свертывание).

Свертывание объекта ФСА направлено на формирование как можно более идеальной технической системы, имеющей минимальное число элементов при обязательном выполнении ими необходимых функциональных показателей. Процедура свертывания заключается в последовательном рассмотрении всех элементов изделия, выяснении по определенным правилам возможности функционирования изделия без рассматриваемого элемента, построении на этой базе функционально-идеальной модели объекта и формулировании задач по практической реализации этой модели. Применительно к технологическому процессу это означает определение возможностей изготовления изделия без той или иной технологической операции.

Рассмотрим механизм функционально-идеального моделирования на примере проведенного в ленинградском производственном электромашиностроительном объединении "Электросила" им. С. М. Кирова ФСА технологического процесса изготовления погружных бытовых электрокипятильников ЭПМ-0,5 (0,7)/220.

Для выполнения свертывания необходимо иметь ряд данных, получаемых на информационном и аналитическом этапах ФСА, в том числе: структурно-элементную модель технологического процесса; формулировки и классификацию функций технологического процесса и его составляющих с указанием установленного ресурса полезных функций; перечень недостатков, нежелательных эффектов (НЭ), связанных с каждым элементом технологического процесса.

Первичный перечень НЭ составляют на информационном этапе в результате обработки конструкторской и технологической документации, экономической и патентной информации, данных о браке, рекламациях, рационализаторских предложениях и т. д. На аналитическом этапе этот перечень пополняют НЭ, выявленными в результате стоимостного и функционального анализов. Кроме того, при анализе выявляются скрытые резервы развития объекта, которые определяются его несоответствием закономерностям развития техники.

Рекомендуется формулировать НЭ в виде технических противоречий (ТП). Техническое противоречие - это недопустимое для анализируемого объекта ухудшение одной его части (свойства, параметра) при попытках улучшить другую его часть (свойство, параметр).

Покажем эффективность предложенного подхода на примере анализа технологического процесса изготовления трубчатого электронагревателя (ТЭН) (рис. 6.1 и 6.2).


Рис. 6.1. Трубчатый электронагреватель:
1-трубка: 2-нагревательная спираль; 3-выводы; 4-технологическая резиновая пробка; 5-наполнитель (периклаз)

Остановимся более подробно на технологическом процессе изготовления трубки (рис. 6.3). Исходный материал: латунная трубка Л96, свернутая в бухту диаметром 0,8-1 м; наружный диаметр трубки 7, толщина стенки 0,5 мм. Главная функция технологического процесса: изготовить прямые отрезки трубки длиной 400мм.


Рис. 6.2. Структурно-элементная модель технологического процесса изготовления ТЭН (фрагмент):
1-изготовление трубки; 2-изготовление нагревательной спирали: 3-изготовление выводов; 4-изготовление резиной пробки; 5-подготовка периклаза; 6-сборка нагревательной спирали с выводами: 7-сборка ТЭН (установка нагревательной спирали с выводами и резиновой пробкой внутрь трубки): 8-набивка ТЭН периклазом

Кратко охарактеризуем функции операций и основные НЭ, выявленные при их анализе.

При осуществлении операции 1 - резка трубки на плети (рис. 6.3) используют технологическое оборудование (станок), технологическую оснастку (размоточное устройство) и инструменты (тянущие ролики станка, фрезу или наждачный круг). При этом выполняются следующие функции: F1.1-размотать трубки из бухты (О); F1.2-выпрямить трубку (О/У); F1.3-подать трубку к режущему инструменту (0/НР); F1.4-получить плеть-отрезок трубки длиной около 2,5 м (В).


Рис.6.3. Резка трубки на плети
1-бухта; 2-размоточное устройство; 3-тянущие ролики; 4-привод тянущих роликов; 5-фреза (или наждачный круг); 6-плеть (2.5 м); 7-упор (концевой выключатель); 8-бункер; 9-готовые плети

При их анализе выявлен ряд НЭ. Назовем основные из них:

  • НЭ1.1 - дискретная подача трубки вызывает излишние затраты времени на разгон и торможение станка, снижая его производительность. Если резать трубку на части на ходу, не прекращая разматывание и подачу, сильно усложнится конструкция режущего узла (например, понадобится устройство типа "летучие ножницы");
  • НЭ1.2 - ролики выпрямляют трубку только в одной плоскости, поэтому она остается изогнутой (дугообразной) в другой плоскости. Если рихтовать трубку со всех сторон (например, разместить ролики в разных плоскостях), то станок сильно усложнится.
  • НЭ1.3 - ролики станка неудовлетворительно протягивают трубку (приходится подтягивать ее вручную), при этом они не деформируют сечение трубки.

Если ролики сильно ее сожмут, то они будут хорошо протягивать ее, но недопустимо исказят сечение:

  • НЭ1.4 - изготовление нужного количества трубок обеспечивается выполнением последующей резки пучка плетей на части. Если на станке резать трубку сразу необходимого размера, то можно получить нужные отрезки за одну операцию, но придется часто останавливать станок, что недопустимо снизит производительность;
  • НЭ1.5 - внутрь трубки при резке попадают электропроводные опилки;
  • НЭ1.6 - на концах трубки образуются заусенцы.

При выполнении операции 2-резка плетей нужного размера (рис. 6.4) применяют технологическую оснастку (приспособление для резки) и инструмент (фрезу или наждачный круг).


Рис. 6.4. Резка плетей нужного размера:
1-отходы; 2-линии реза; 3-фреза (или наждачный круг); 4-упор; 5- плети

Функция F2 операции: изготовить отрезки трубки длиной 400 мм (О). При ее осуществлении также обнаружены НЭ:

  • НЭ2.1 - внутрь трубки попадают электропроводные опилки;
  • НЭ2.2 - на концах трубки образуются заусенцы;
  • НЭ2.3 - наличие ручного труда.

Для операции 3-снятие фасок (рис. 6.5) требуются: технологическая оснастка (приспособление) и инструмент (зенкер). Функция F3 операции: ликвидировать НЭ1.6 и НЭ2.2, т. е. удалить заусенцы на концах трубок (В). Однако ее выполнение в свою очередь порождает такие НЭ: НЭ3.1-внутрь трубки попадают электропроводные опилки; НЭ3.2 - наличие ручного труда.


Рис. 6.5. Снятие фасок
1-зенкер; 2-опилки; 3-трубка

Для операции 4 - рихтовка трубок (рис. 6.6) необходимы технологическое оборудование (станок) и инструмент (обжимные ролики). Функция F4 операции: ликвидировать НЭ1.3, т. е. выпрямить трубки (В/У). При этом выявлены:


Рис. 6.6. Рихтовка трубок:
1-искривленная трубка; 2-обжимные ролики

  • НЭ 4.1 - рихтующие ролики слабо обжимают трубку. Они не деформируют ее сечение, но плохо выпрямляют трубку. Если сильно сжать трубку роликами, то она станет ровной по длине, но деформированной в сечении;
  • НЭ 4.2 - ролики рихтуют трубку только в одной плоскости. Если рихтовать трубку в разных плоскостях, сильно усложнится конструкция станка.

Для операции 5 - мойка трубок (рис. 6.7) применяют в качестве оснастки емкость с растворителем и приспособление для переноски трубок. Функция F5; операции: ликвидировать НЭ 1.5, НЭ 2.1. и НЭ3.1, т. е. удалить электропроводные опилки из трубок (В). При ее выполнении обнаружены:


Рис. 6.7. Мойка трубок:
1- трубки; 2-приспособление для переноски: 3-емкость; 4-растворитель; 5-осадок

  • НЭ5.1-емкость с растворителем установлена вне цеха; это позволяет отказаться от вентиляции и улучшить безопасность труда в цехе, однако трубки приходится переносить на значительное расстояние. Если же трубки мыть в цехе, понадобятся вытяжная вентиляция и средства противопожарной защиты;
  • НЭ5.2 - растворитель меняют периодически. Задержка в его замене ведет к загрязнению трубки. Если предусмотреть очистку растворителя, то он не будет загрязнять трубки, однако при этом усложнятся конструкция и обслуживание моечного устройства;
  • НЭ5.3 - наличие ручного непроизводительного труда.

Для операции 6-протирка трубок (рис. 6.8) используют инструмент-шомпол с намотанной киперной (матерчатой) лентой. Функция F6 операции: ликвидировать НЭ 5.2, т. е. удалить грязь из трубок (В). Но она ведет в свою очередь к НЭ 6.1 - наличию ручного непроизводительного труда.


Рис. 6.8. Протирка трубок:
1-грязь; 2-киперная лента; 3-шомпол

 

В целом функционально-идеальное моделирование технологического процесса выполняют в следующей последовательности:

  1. свертывание технологического процесса;
  2. составление перечня функций технологического процесса, сохранившихся после свертывания;
  3. построение его функционально-идеальной модели;
  4. формулирование требований к элементам этой модели;
  5. анализ сводного комплекса требований, формулирование по его результатам задач и предварительных предложений.

При свертывании технологического процесса ставят цель ликвидировать операции, являющиеся носителями ненужных и вспомогательных, а по возможности и основных функций. При этом вспомогательные функции свернутых (ликвидируемых) операций переводят в ненужные, т. е. исключают, а основные - передают другим носителям.

Для каждой операции (технологического перехода) возможность свертывания формулируют в виде требования: операцию можно не выполнять, если возможно ее осуществление:

а) за счет предшествующих операций, включая поставку материалов;
б) за счет последующих операций, включая сборку, упаковку, транспортирование и др.

Выбор варианта свертывания определяется следующими факторами. Во-первых, необходимо обеспечение наивысшей производительности труда в основном производственном процессе (наилучшего выполнения главной функции анализируемого технологического процесса); при выборе варианта можно не учитывать требования к качеству, поскольку они учтены при формулировании задач. Во-вторых, выбирать следует в соответствии с объективными закономерностями развития техники. А они таковы, что необходимо отказываться от рассмотрения вариантов свертывания, связанных с исправлением недостатков изделия, которые либо определяются качеством поставляемых материалов, либо возникают в анализируемом технологическом процессе на предшествующих операциях. Технологические операции, направленные на устранение таких недостатков, всегда являются носителями вспомогательных функций и подлежат свертыванию в обязательном порядке. В-третьих, следует выбирать варианты свертывания на предшествующих операциях.

В-четвертых, нужно учитывать внешние ограничения на изменение конструкции или технологии (действующие ГОСТ, технологические возможности предприятия, условия поставки и т. д.).

Пример 1. Трубку на плети можно не резать, если: а) поставлять трубки не в бухтах, а в плетях; б) отделять трубки нужного размера прямо от бухты. Выбран вариант "б", так как он обеспечивает наиболее быстрое выполнение главной функции технологического процесса (наибольшую производительность). Кроме того, такой выбор обусловлен возможностью поставки трубки только в бухтах. При этом вспомогательная функция F1.4 ликвидируется, а основные функции F1.1, F1.2, F1.3 сохраняются.

Пример 2. Резку плетей нужного размера можно не выполнять, если: а) не отделять предварительно от бухты плети (отделять сразу трубки нужных размеров); б) изготовлять ТЭН, используя не отдельные короткие трубки, а длинные плети (например, разрезая длинный готовый ТЭН на части). Выбран вариант "а", что обусловлено свертыванием предшествующей операции - резки на плети. Использование варианта "б" приводит к принципиальным изменениям конструкции кипятильника, на что были наложены ограничения. Основная функция F2 сохраняется.

Пример 3. Снятие фасок можно не выполнять, если: а) отделять куски трубки таким образом, чтобы заусенцы не образовывались; б) изготовлять качественные ТЭН из трубок с заусенцами. Выбран вариант "а", так как целесообразнее предотвратить возникновение заусенцев при отделении трубки. Вспомогательная функция F3 ликвидируется вместе с операцией.

Пример 4. Рихтовку трубок можно не выполнять, если: а) выпрямлять трубку перед тем, как отделить от нее кусок нужного размера; б) изготовлять ТЭН из изогнутых трубок. Выбран вариант "б", обеспечивающий наибольшую производительность: трубка в бухте уже изогнутая, и не нужно затрачивать усилий на превращение ее в прямую. Вспомогательная функция F4 ликвидируется вместе с операцией.

Пример 5. Мойку трубок можно не выполнять, если: а) отделять куски трубки таким образом, чтобы опилки не образовывались; б) изготовлять ТЭН с опилками внутри трубок.

Выбран вариант "а", так как лучше предотвратить недостаток, чем его потом устранять. Вспомогательная функция F5 ликвидируется вместе с операцией.

Пример 6. Протирку трубок можно не выполнять, если: а) не выполнять мойку трубок; б) изготовлять ТЭН, не очищая трубки.

Выбран вариант "а", что определено ликвидацией предшествующей операции. Устраняется вспомогательная функция F6.

В перечень функций технологического процесса, сохранившихся после свертывания, включают все сохранившиеся после свертывания основные функции (не привязанные к носителям), которые необходимо выполнить для обеспечения главной функции анализируемого процесса. Здесь же указывают функции и НЭ, устраняемые в результате свертывания.

Например, перечень основных функций технологического процесса изготовления трубок после свертывания будет выглядеть так: F1.1 - размотать трубку из бухты; F1.2 - выпрямить трубку; F1.3 - подать трубку к режущему инструменту; F2 - отделить от бухты отрезки трубки длиной 400 мм. В результате свертывания были ликвидированы функции F1.4, F3, F4, F5, F6 и нежелательные эффекты НЭ1.2, НЭ1.5, НЭ1.6, НЭ3.1, НЭ4.1, НЭ4.2, НЭ5.1, НЭ5.2, НЭ5.3, НЭ6.1.

Для построения функционально-идеальной модели технологического процесса оставшиеся функции перегруппировывают по элементам технологического процесса, сохранившимся после свертывания. При этом возможны разные варианты построения функционально-идеальной модели. Привязка той или иной функции к различным элементам определяется во многом структурой технологических процессов, выполняемых на предприятии.

В модель включают также все нежелательные эффекты, которые не были устранены при свертывании.

Например, технологический процесс изготовления трубки ТЭН, состоявший ранее из шести операций, превращен в результате свертывания фактически в одну операцию: отделение трубки. Однако при этом остались неустраненными нежелательные эффекты: НЭ1.1, НЭ1.3, НЭ1.4, НЭ2.1, НЭ2.2, НЭ2.3.

К каждому элементу функционально-идеальной модели предъявляют требования:

  • по обеспечению свертывания (устранения) других элементов - они определяются выбором вариантов свертывания;

  • по устранению НЭ данного элемента - они определяются исходя из содержания оставшихся НЭ;

  • по согласованию данного элемента с надсистемой - другими оставшимися элементами, имеющимся в цехе оборудованием и т. д.

Затем требования к отдельным элементам модели преобразуют в сводный комплекс требований к новому усовершенствованному технологическому процессу как единому целому. По мере решения задач на творческом этапе этот комплекс требований корректируют.

Вот как, например, могут быть сформулированы требования к идеальной модели технологического процесса изготовления ТЭН.

Трубки от бухты следует отделять сразу, с получением ее необходимого размера (устранение операций 1 и 2, ликвидация НЭ1.4), без заусенцев (устранение операции 3, ликвидации НЭ2.2), опилок (устранение операций 5 и 6, ликвидация НЭ2.1), деформации сечения трубки (ликвидация НЭ1.3), с обеспечением неподвижности трубки в месте отделения (ликвидации НЭ1.1), без применения ручного труда (ликвидация НЭ2.3), высокопроизводительно (ликвидация НЭ1.4).

Ролики станка должны хорошо протягивать трубку (ликвидация НЭ1.3).

Набивать ТЭН периклазом необходимо в изогнутую трубку без специальной рихтовки (устранение операции 4), с высокопроизводительной засыпкой периклазом, качественным уплотнением периклаза и необходимым центрированием спирали.

При анализе сводного комплекса требований и формулировании по его результатам задач и предварительных предложений: группируют требования, относящиеся к одним и тем же элементам функционально-идеальной модели; устанавливают причины, не позволяющие выполнить указанные требования; формулируют задачи в виде технических противоречий по каждой группе требований, разрешение которых позволит обеспечить переход к новому усовершенствованному технологическому процессу.

При отсутствии причин, мешающих выполнить предъявленные требования, сразу формулируют предложения по их удовлетворению, которые включают в перечень организационно-технических предложений, составляемый по итогам творческого этапа ФСА.

Формулирование задач по совершенствованию анализируемого объекта имеет следующие особенности.

Во-первых, количество этих задач гораздо меньше исходных НЭ, выявленных при анализе, и меньше количества сформулированных требований к элементам модели.

Например, при ФСА технологического процесса изготовления электрокипятильников было выявлено 136 нежелательных эффектов. А в результате свертывания и построения функционально-идеальной модели этого процесса было сформулировано лишь восемь задач, содержащих ТП, решение которых обеспечило устранение подавляющего большинства НЭ.

Во-вторых, большинство этих задач вообще не вытекало из анализа исходного состояния объекта. Они были скрыты от взора специалистов. Их сознательное "конструирование" стало возможным только благодаря свертыванию. Выявляя и решая такого рода задачи, ФСА вскрывает глубинные резервы развития объекта.

В-третьих, это задачи не по совершенствованию отдельных элементов конструкции и технологических операций, а по оптимизации всего изделия и технологического процесса в целом. Их решение, как правило, позволяет повысить функциональные возможности объекта при одновременном снижении затрат.

В-четвертых, поскольку такие задачи содержат острые технические противоречия, для их решения необходимо использовать современные методы поиска новых технических решений, в частности ТРИЗ.

Приведем конкретные примеры определения задач по совершенствованию технологического процесса изготовления ТЭН. Из требований к отделению трубки от бухты вытекают два предложения: 1) трубку от бухты отделять на станке-автомате сразу с обеспечением необходимого размера; 2) отделять трубку ТЭН штамповкой аналогично отделению трубок воздухоохладителей электродвигателей ДА304, применяемому в ЛПЭО "Электросила". Эта операция выполняется при высокой производительности труда, без опилок и практически без заусенцев, но имеет нежелательный эффект: деформацию конца трубки при штамповке.

На основании этих предложений были определены следующие задачи.

Задача 1. Если для отделения трубок применять штамп, то обеспечиваются высокая производительность операции, отсутствие опилок и заусенцев. Однако деформируется сечение конца трубки, что затрудняет установку резиновой пробки на выводы нагревательной спирали при сборке ТЭН. Необходимо обеспечить применение штамповки при качественном центровании выводов нагревательной спирали.

Задача 2. Так как для отделения трубок предлагается использовать штамповку, необходима дискретная подача трубки. Однако это противоречит требованию непрерывной размотки. Нужно обеспечить применение штамповки при непрерывном вращении размоточного устройства.

По результатам анализа требований к набивке ТЭН периклазом сформулирована задача 3. Если набивать ТЭН с использованием шомпола, то обеспечиваются центрование спирали и уплотнение периклаза. Однако сильно затрудняется засыпка периклаза (так как шомпол размещен в кольцевом зазоре между спиралью и трубкой) и исключается применение искривленных трубок. Необходимо обеспечить точное центрование спирали и качественное уплотнение периклаза при высокопроизводительной засыпке в изогнутую трубку.

Прежде чем характеризовать процесс решения этих задач, следует изложить наше представление о схеме проведения работ на творческом этапе ФСА.

Такую схему необходимо составлять с обязательным учетом закономерностей развития техники. Это поможет повысить продуктивность работы на творческом этапе и увеличить эффективность проведения ФСА в целом. Задачи поиска новых технических решений, как было показано, могут быть весьма сложными, и при их решении невозможно обойтись без современных методов технического творчества.


Рис.6.9. Схема проведения работ на творческом этапе ФСА

Дадим краткое изложение содержания работ, выполняемых на творческом этапе (рис. 6.9).

1. Задачи, поставленные на аналитическом этапе, классифицируют по наличию в них ТП. Задачу считают не содержащей ТП, если предусматриваемое ею улучшение одной части (свойства параметра) объекта не приводит к ухудшению другой. И наоборот, задачу считают содержащей ТП, если достижение требуемого качества (свойства) одного составного элемента происходит в ущерб качеству (свойству) другого элемента анализируемого объекта.

2. Решают задачи, не содержащие ТП. Как правило, это задачи по устранению недостатков, связанных с излишними запасами прочности, неоправданным усложнением формы, завышенным классом точности обработки деталей, нерациональным использованием материалов и покрытий, заниженной плотностью тока в проводниках и т. д. Проблема часто состоит в том, чтобы эти задачи увидеть, преодолев психологическую инерцию привычных представлений. Для их решения бывает достаточно профессиональных инженерных и экономических навыков. Приведем конкретный пример.

В технологическом процессе сборки электрокипятильников выполняется операция сварки выводов ТЭН со шнуром. В результате ФСА было выявлено, что соединение, получаемое при сварке, оказывается непрочным: при эксплуатации кипятильника в месте соединения часто происходит обрыв. Работницы, занятые на этой операции, вместо положенных одного-двух ударов электрода производят три-пять ударов (для надежности). Это снижает производительность и требует увеличения числа сварочных аппаратов. Анализ показал, что выводы ТЭН изготовляют из стальной сварочной проволоки, а провода шнура - медные луженые. По существу, при выполнении данной операции вместо сварки производят плохую пайку. А поскольку соединяемые детали не согласованы по материалам, соединение получается ненадежным. Достаточно было уяснить эту задачу, как решение стало очевидным: выводы ТЭН целесообразнее всего выполнить из медной неизолированной проволоки, а лужение припоем проводов шнура отменить.

3. Определяют способ решения задач, содержащих ТП. При этом компромиссное решение возможно для неизвестных (их никто не пытался решить обычным способом) задач, относящихся к ТС, обладающих резервами количественного развития.

Решение переносом опыта возможно для известных задач с высокой степенью актуальности, относящихся к ТС, находящимся на этапах развития, по которым накоплен значительный опыт решения проблем.

Применение методов технического творчества высокоэффективно для любых задач, содержащих ТП. Наиболее целесообразно начинать их решать с применения ТРИЗ. Она позволяет устранить имеющиеся ТП, получить решение, близкое к идеальному конечному результату. И только если это почему-либо не удалось, нужно искать компромиссные варианты или готовые решения. При таком подходе хорошие результаты могут быть достигнуты при значительно меньших усилиях, так как НЭ, содержащиеся в ТП, удается не просто уменьшить, а полностью устранить. Если среди участников ИРГ нет специалистов, знакомых с ТРИЗ, задачи решают с применением известных методов психологической активизации творческого мышления. Выбор способа решения задачи определяется, как правило, тремя основными критериями: этапом развития объекта ФСА, степенью известности и актуальностью задачи.

Развитие любой технической системы проходит три основных этапа (рис. 6.10):


Рис. 6.10. Основные этапы развития технических систем

1 - от возникновения идеи и замысла данной ТС до начала ее массового промышленного применения; здесь продолжается формирование ТС, значительно меняются ее конструкция и технология;

2 - от начала массового применения ТС до практического исчерпания возможностей заложенных в основу ее работы физических принципов происходит количественное изменение показателей ТС без принципиальных изменений ее конструкции и технологии;

3 - от исчерпания возможностей ТС, характеризующейся застоем, а иногда и спадом ее показателей, до постепенной замены прежней ТС новой, более прогрессивной.

При определении степени известности задачи руководствуются следующим правилом. Если формулировка задачи не знакома специалистам, т.е. она была выявлена на аналитическом этапе (например, в результате свертывания), то ее можно считать "неизвестной".

С помощью метода экспертных оценок определяют степень актуальности "известной" задачи, устанавливают, насколько она является острой, наболевшей, важной для производства.

Итоговые рекомендации по выбору способа решения задачи приведены в табл. 6.1.
Таблица 6.1.

4. Формулируют предложения по задачам, для которых выбран компромиссный способ решения. В процессе этой работы пытаются найти вариант, удовлетворяющий противоречивые требования ТП. При этом само ТП не устраняется, а сглаживается уменьшается.

К подобным решениям относятся снижение массы конструкции при сохранении заданной прочности и надежности, подбор оптимальных размеров, материалов, состава, формы объекта и т. д.

Для компромиссного решения могут потребоваться длительные, трудоемкие и сложные расчеты, применение специальных методов оптимального проектирования, проведение ряда экспериментов по выбору вариантов.

Например, в технологическом процессе сборки электрокипятильника "узким" местом является операция армирования - изготовление колодки из полистирола, с помощью которой происходит электромеханическая защита места соединения ТЭН со шнуром. Одновременно на пресс-автомате заливаются только две колодки, поскольку работница не успевает укладывать в пресс-форму, обрезать литники и вынимать из пресс-формы более двух кипятильников. Низкая производительность труда при этом приводит к увеличению числа пресс-автоматов.

В результате ФСА было сформулировано предложение: одновременно изготовлять четыре колодки, причем кипятильники укладывать в пресс-форму на предшествующей операции - сварке выводов ТЭН со шнуром. Это решение компромиссное, так как повышение производительности на операции армирования достигается за счет увеличения трудоемкости операции сварки. Однако такое решение допустимо для данного технологического процесса и позволяет "расшить" узкое место.

5. Для поиска готовых решений и перенесения их на объект ФСА можно использовать материалы по патентному поиску и рационализаторским предложениям, собранные на информационном этапе, опыт решения аналогичных задач на родственных предприятиях, результаты целевого патентного поиска по конкретной задаче (на информационном этапе этих данных еще не могло быть, так как задача не была сформулирована).

Приведем в качестве примера решение задачи 1. В процессе ее постановки было сформулировано физическое противоречие:
конец трубки должен быть деформирован, так как по-другому "быстрая" штамповка не получается, и конец трубки не должен быть деформирован, так как это помешает центрованию вывода.

Предложено решение: применять высокопроизводительную штамповку, а искажение сечения конца трубки устранять последующей опрессовкой одного конца вывода до набивки ТЭН периклазом, а другого - после набивки (рис. 6.11).


Рис. 6.11. Конец трубки ТЭН после штамповки (а) и опрессовки (б):
1 - деформация конца трубки

Такое решение одновременно позволяет отказаться от применения технологических резиновых пробок и улучшить герметизацию ТЭН при последующем гальваническом покрытии.

6. Решают задачи с применением методов технического творчества.

После классификации задач на "стандартные" и "нестандартные" путем составления структурной вещественно-полевой модели задачи и сравнения ее с формулировками стандартов на решение изобретательских задач по ТРИЗ формулируют предложения, разрешающие ТП "стандартным" способом.

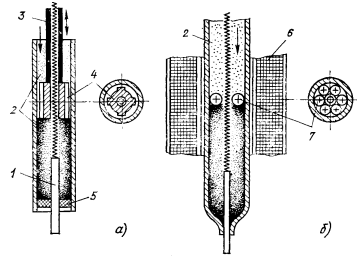
В качестве примера приведем решение задачи 3 (рис. 6.12). В процессе ее постановки было сформулировано физическое противоречие: шомпол должен присутствовать, чтобы втулка могла центрировать спираль и уплотнять периклаз, и шомпола не должно быть вообще, чтобы он не мешал засыпке периклаза и не застревал в изогнутой трубке.

Инструментом, осуществляющим центрирование спирали и уплотнение пе-риклаза, фактически является втулка шомпола, а сам шомпол, будучи приво-дом втулки, мешает засыпке и застревает в непрямых трубках или повреждает нагревательную спираль.


Рис. 6.12. Набивка ТЭН периклазом до (а) и после (б) ФСА:
1-вывод; 2-периклаз; 3-шомпол; 4-втулка шомпола; 5-резиновая пробка; 6-магнитная система; 7-ферромагнитные шарики

Таким образом, речь идет о повышении эффективности инструмента - втулки. Задача была решена последовательным применением трех стандартов на решение изобретательских задач:

  • эффективность технической системы может быть повышена путем использования в качестве инструмента ферромагнитного вещества, управляемого магнитным полем. Втулка шомпола стальная, т. е. она уже выполнена из ферромагнитного вещества. Стандарт подсказывает: нужно использовать для управления инструментом не механический привод, а электромагнитное поле;

  • эффективность технической системы может быть повышена путем увеличения степени дисперсности (дробления) вещества, играющего роль инструмента. В соответствии с этим стандартом следует раздробить втулку на части, кусочки. Проще всего сделать это, используя стальные шарики;

  • в технических системах действие поля должно быть согласовано по частоте с собственной частотой управляемого элемента. В нашем случае стандарт рекомендует управлять колебаниями шариков с частотой, равной собственной частоте системы шарики - периклаз.

Было предложено (рис. 6.12,б) в кольцевом зазоре между стенками латунной (неферромагнитной) трубки и спиралью расположить стальные шарики, колеблющиеся в электромагнитном поле, создаваемом магнитной системой.

Оставшиеся "нестандартные" задачи решают с помощью алгоритма решения изобретательских задач (АРИЗ). Строят модель задачи, выявляют пространственные, временные и вещественно-полевые ресурсы решения задачи, формулируют идеальный конечный результат для данной задачи, формулируют физическое противоречие, лежащее в основе ТП, разрешают физическое противоречие мобилизацией вещественно-полевых ресурсов или применением специального информационного фонда ТРИЗ: фонда задач-аналогов, приемов разрешения противоречий, указателя физических явлений и эффектов, применяемых для решения изобретательских задач.

Затем на базе идей, полученных по АРИЗ, формулируют предложения по устранению ТП. Например, в технологическом процессе изготовления нагревательной спирали электрокипятильника есть операция "навивка спирали". При ФСА с применением свертывания была сформулирована следующая задача, содержащая ТП.

Для удовлетворительной формовки спирали проволока должна быть плотно прижата к оправке, но при этом невозможно снимать спираль с оправки. Приходится останавливать станок и освобождать спираль, что нарушает непрерывность навивки. Если между проволокой и оправкой будет зазор (неплотное прижатие), то спираль можно снимать с оправки при навивке, но форма спирали искажается. Необходимо обеспечить свободное снятие спирали без искажения ее формы.


Рис. 6.13. Навивка спирали до (а) и после (б) ФСА:
1-катушка с проволокой; 2-оправка; 3-шпиндель: 4-люнет: 5-прижимный ролик; 6-формирующийся виток; 7-формирующаяся часть витка; 8-готовая спираль; 9-проволока; 10-снимающаяся часть витка

Было предложено навивать спираль на короткую оправку с прижимным роликом на специальном станке. Причем подачу нихромовой проволоки производить без тормозного устройства (рис. 6.13,б). Преимущества этого предложения: повышается производительность труда за счет непрерывности процесса навивки, нет ручных операций (снятие спирали идет непрерывно), можно точно измерить активное сопротивление наматываемой спирали, устранены отходы нихромовой проволоки на прямые концы спирали.


Рис. 6.14. Отделение трубки нужного размера от бухты (предложено в результате ФСА):
1-бухта; 2-размоточное устройство; 3-привод размоточного устройства: 4 - концевые выключатели; 5-крайние положения "петли"; 6- тянущие ролики: 7 - привод тянущих роликов; в-'штамп; 9-концевой выключатель; 10-трубка; 11-готовые трубки

В качестве другого примера решения задач такого класса можно показать решение задачи 2 об отделении трубки необходимого размера от бухты (рис. 6.14). Было сформулировано физическое противоречие: трубка должна перемещаться с остановками, чтобы отделение нужных кусков выполнялось на высокопроизводительном и простом по конструкции штампе, и трубка должна перемещаться без остановок, чтобы размоточное устройство вращалось без торможений и разгонов (это условие в свою очередь обеспечивает высокую производительность).

Технические системы с противоречивыми требованиями предложено разнести в пространстве: массивное размоточное устройство вращается без остановок, передавая трубку в "петлю", а малоинерционные подающие ролики станка периодически останавливают трубку, чтобы мог сработать штамп. Приводом размоточного устройства управляют концевые выключатели, установленные по обе стороны петли трубки, а приводом подающих роликов и штампа - концевой выключатель, совмещенный с упором, отмеряющим куски трубки нужной длины.

Дополнительным преимуществом предложения является то, что подающие ролики станка не будут сильно обжимать трубку, так как теперь они тянут только легкую "петлю". Таким образом, решение задачи 2 удовлетворяет требованиям, сформулированным при формировании функционально-идеальной модели технологического процесса: ролики станка хорошо протягивают трубку, не деформируя ее сечение.

7. Последним шагом творческого этапа является составление перечня (комплекса) предложений по усовершенствованию объекта ФСА. Сюда входят как первичные предложения, полученные еще на аналитическом этапе в результате свертывания, так и "продукция" творческого этапа: первичные предложения по задачам, не содержащим ТП, компромиссные предложения, предложения по переносу опыта, а также предложения, сформулированные в результате решения задач, содержащих ТП, с применением методов технического творчества.

При составлении перечня предложений производятся их взаимная увязка, согласование между собой, переход от функционально-идеальной модели к реализующему ее усовершенствованному объекту - конструкции изделия, технологическому процессу и т. д.

В целом применение закономерностей развития техники на аналитическом и творческом этапах ФСА позволяет:

  • значительно сократить объем работ на информационном этапе, особенно по сбору экономической информации (не нужны данные по элементам, ликвидированным в результате свертывания);

  • выявлять скрытые резервы развития ТС, обнаруживать лежащие в их основе технические противоречия, формулируя, таким образом, серьезные изобретательские задачи;

  • существенно (в 2-5 раз) сокращать количество элементов анализируемого объекта, ликвидируя носители не только ненужных, но и вспомогательных и даже основных функций;

  • обоснованно выбирать способы решения и методы технического творчества для всех выявленных задач;

  • гарантированно решать на уровне изобретений сложные технические задачи в ограниченное время (дни, часы);

  • расширять сферу применения предложений, полученных в результате ФСА, что повышает эффект от анализа не только на данном предприятии, но и в народном хозяйстве;

  • обоснованно прогнозировать дальнейшее развитие объекта ФСА, что позволяет руководству предприятия более объективно оперировать капитальными вложениями.
 

вверх


(c) 1997-2000 Центр ОТСМ-ТРИЗ технологий
(с) 1997-2000 OTSM-TRIZ Technologies Center


http://www.trizminsk.org

17 Dec 2000